Der
Reglerschalter (Regler) |
|
| Die in den DDR-Fahrzeugen eingesetzten
Reglerschalter vereinen in sich den Ladestromschalter, welcher die
Lichtmaschine selbsttätig der Batterie zu- oder abschaltet, und den Spannungsregler, der
trotz wechselnder Drehzahl und Belastung, die Spannung selbsttätig auf den gewünschten
Wert einstellt. |
|
| Für kleine und mittlere Leistung wurden die
Reglerschalter auf die Lichtmaschine aufgebaut. Noch bei den Motorrädern wie z.B. der RT
125 und dem ersten IWL-Roller Pitty, wurden sie in Flachbauform verwendet und zusammen mit
der Zündspule in einem Spulenkasten untergebracht. Später bei den modernen
standardisierten Lichtmaschinen (6 Volt /60Watt) wurden die Regelschalter als
separates Bauteil unter den Verkleidungen am Fahrzeug befestigt. |
|
|

|
Bild anklicken
zum vergrößern |
|
| Es gibt zwei Bauformen der eingesetzten
Reglerschalter. In den IWL-Rollern wurde der Regler (erste Bauart) mit drei
Schraubkontakten verwendet. Anfangs der 60er Jahre kam eine Weiterentwicklung mit vier
Steckkontakten auf den DDR-Zweiradmarkt (z.B. MZ-Motorräder). Da die IWL-Produktion
bekanntlich 1965 endete, finden wir diese Bauform mit vier Kontakten als Ersatz in den
Rollern. Der Aufbau und die Funktion sind im wesentlichen gleich. |
|
|
Aufbau und
Funktion |
Zur Vereinfachung erklären wir
die Funktionsgruppen Ladestromschalter und Spannungsregler
getrennt |
|
|
Der
Ladestromschalter regelt die Verbindung Lichtmaschine- Sammler (Batterie) |
| Bei stehendem oder mit niedriger Drehzahl
laufendem Motor werden die eingeschalteten Verbraucher vom Sammler (Batterie) gespeist.
Die vom Motor angetriebene Lichtmaschine ist von der Kurbelwellendrehzahl abhängig. Bei
niedrigen Drehzahlen liegt die Lichtmaschinenspannung unter der Sammlerspannung. Nimmt
jedoch die Motordrehzahl zu, so steigt die Spannung an, bis sie bei einer bestimmten
Drehzahl mit der Sammlerspannung gleich ist und die Lichtmaschine nun die Stromversorgung
der Verbraucher selbst übernehmen kann. Um zu verhindern, dass sich der Sammler über die
Lichtmaschine entlädt, ist der Schalter so ausgeführt, dass er die Lichtmaschine erst
dann mit dem Sammler verbindet, wenn ihre Spannung etwas höher als die Sammlerspannung
ist. Im Fahrzeug wird der Einschaltvorgang durch das Verlöschen der am Instrumentenbrett
angeordneten roten Ladeanzeigeleuchte sichtbar. |
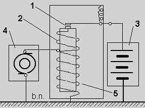
Das Bild zeigt die
Prinzip Skizze eines solchen Schalters, der in der technischen Ausführung mit dem
Spannungsregler zusammengebaut ist. |
|
Prinzip Skizze
des Ladeschalters |

|
|
| 1. Schalterkontakte |
| 2. Stromspule |
| 3. Sammler/ Batterie |
| 4. Lichtmaschine |
| 5. Spannungsspule |
|
|
|
Die Spannungsspule ist unmittelbar zwischen
die beiden Bürsten der Lichtmaschine geschaltet und erhält daher die volle
Klemmenspannung (Bild 1a).
(Bild
1a)
|
Arbeitsweise bei voller
Klemmenspannung des Ladestromschalters (schematisch) |
|
|
| Das von ihr erzeugte Magnetfeld wächst mit
ansteigender Spannung und übt eine immer größer werdende Anziehungskraft auf den
Magnetanker aus. Die Rückzugsfeder wird durch die Magnetkraft erst dann überwunden, wenn
die Lichtmaschinenspannung höher ist als die Betriebsspannung. |
|
| In diesem Fall wird der Anker angezogen,
die Kontakte schlagen aufeinander und der Stromkreis zwischen Lichtmaschine und Sammler
ist geschlossen (Bild 1b). |
|
(Bild
1b).
|
Stromkreis zwischen Lichtmaschine
und Sammler ist geschlossen |
|
| Der nunmehr über die Stromspule fließende
Strom verstärkt das Magnetfeld der Spannungsspule weiter, so dass der Anker kräftig
festgehalten wird. Ist mit sinkender Motordrehzahl die Lichtmaschinenspannung so weit
abgefallen, dass sie unter der Sammlerspannung liegt, dann wird der Sammler nicht mehr
geladen, sondern es fließt umgekehrt ein Strom vom Sammler zur Lichtmaschine
(Rückstrom). Da die Stromspule jetzt in entgegengesetzter Richtung durchflossen wird,
wirkt ihr Magnetfeld dem der Spannungsspule entgegen (Bild 1c) und schwächt es, so
dass
die Federkraft überwiegt und den Anker zurückzieht. Damit ist die Verbindung zwischen
Lichtmaschine und Sammler wieder unterbrochen. |
|
(Bild
1c)
|
Verbindung zwischen Lichtmaschine
und Sammler ist unterbrochen |
|
| Der Spannungsregler hat die Aufgabe, die
Lichtmaschinenspannung trotz wechselnder Drehzahlen auf einen fast gleichbleibenden Wert
zu regeln. |
|
|
Der
Reglerschalter |

|
Der Reglerschalter kann in
fünf Schaltungen betätigt werden. |
|
|
 |
| Bei dem im Bild 1d dargestellten
minusregelnden Reglerschalter sind Ladeschalter und Regler zu einem Bauteil
vereinigt (kombinierter Regler-Schalter). Sie haben einen gemeinsamen Magnetkern, der die
beiden von der Beschreibung des Ladestromschalters bekannten Wicklungen, die Stromspule
und Spannungsspule, trägt. Auf der Stirnseite des Magnetkerns befindet sich eine
rechteckige Platte, deren Schmalseiten je ein Stahlstück, ein Schaltanker,
gegenüberliegt. Die beiden Anker sind mittels Blattfedern beweglich am unteren
Quer joch
befestigt. Nach oben sind die Blattfedern verlängert und werden durch zwei Bügel nach
außen gespannt, so dass sie die Anker mit einer bestimmten Vorspannung vom Magnet
wegziehen. Durch Nachbiegen der Bügel kann in der Spezialwerkstatt die Federkraft
verändert werden. Der rechte Anker Sa gehört zum Ladeschalter, der linke Ra zum Regler.
Am Schalter stehen sich ein fester Kontakt Sk l und ein mit dem Anker
verbundener beweglicher Kontakt Sk 2 gegenüber. Der Regler hat zwei Kontaktpaare, deshalb
Zweikontaktregler. Zwischen zwei festen Kontakten Rk l und Rk 3 liegt der mit dem Anker Ra
verbundene Doppelkontakt Rk 2. In Ruhelage ist das äußere Kontaktpaar des Reglers
geschlossen, Rk 2 an Rk 1. Die Spannungsspule ist so geschaltet, dass sie in jedem Falle
bei Betrieb der Lichtmaschine deren volle Klemmenspannung erhält, während in der
Stromspule erst dann Strom fließt, wenn die Schalterkontakte geschlossen sind. Dabei wird
je nach Stromrichtung (Lade- oder Rückstrom) die Wirkung der Spannungsspule unterstützt
oder abgeschwächt. |
|
| Die Bügelfeder des Reglers mit dem Anker Ra
und der Doppelkontakt Rk 2 sind isoliert angebracht und mit den Anfängen der Erregerspule
sowie des Regler Widerstandes Wd verbunden. Der linke Reglerkontakt Rk1 liegt an Masse,
desgleichen auch das Ende des Regler Widerstandes Wd. Der rechte
Reglerkontakt ist über
die Befestigungsschraube mit dem Magnetkern, der am Pluspol der Lichtmaschine
angeschlossen ist, leitend verbunden. |
|
| Das Prinzip der Spannungsreglung besteht
darin, dass die durch Drehzahl- und Belastungsschwankungen hervorgerufenen
Spannungsunterschiede durch entsprechende Veränderung des Erregerstromes ausgeglichen
werden. Dies geschieht mittels elektromagnetischer Schnellregler, die bei zu hoch
ansteigender Spannung das Erregerfeld schwächen, indem sie in rascher Folge einen
Widerstand abwechselnd in den Erregerstromkreis einschalten und ihn dann wieder
überbrücken (ausschalten) oder die Erregerwicklung kurzschließen. Zwecks Kühlung ist
der Reglerwiderstand häufig frei unter dem Gehäuse des Reglerschalter angebracht. |
|
| Der Regler liegt im Erregerstromkreis
entweder vor der Erregerwicklung, d. h. zwischen dieser und der Plusbürste des Ankers
(plus-regelnd) oder hinter der Erregerwicklung, d. h. zwischen dieser und dem
Anschluss an
Masse (minus regelnd). |
|
| Es gibt eine Vielzahl verschiedenartigster
Regler Ausführungen, die aber alle nach dem gleichen Grundprinzip arbeiten. Es ist
der sogenannte Zweikontaktregler. |
|
|
Im
folgenden nur die 5 Arbeitsweisen eines Reglers |
|
1.
Lichtmaschine läuft mit niedriger Drehzahl |
Ladestromschalter
|
| Blau gekennzeichnet ist die unterbrochene
Verbindung des Pluspols der Lichtmaschine mit dem Bordnetz (Ladeschalter ist geöffnet). |
| An Klemme 51 des Reglers plus-Leitung zum
Zündschloss) liegt deshalb die Batteriespannung an. |
| Da an Klemme 61 die niedrigere
Lichtmaschinenspannung anliegt, fließt Strom von Klemme 51 nach 61. |
| Die dazwischen befindliche
Ladekontrollleuchte brennt. |
|
Reglerschalter |
| Der Erregerstromkreis ist rot
gekennzeichnet. |
| Die Kontakte RK1 und RK2 sind verbunden. |
| Somit ist die Erregerwicklung direkt
zwischen den Bordplus (kommt im Moment über die Ladekontrolle) und Masse geschaltet. |
| Die Lichtmaschinenspannung ist noch sehr
niedrig |
|
| . |
|
|
 |
Anmerkung: |
| Die Verbindung zwischen Klemme 51 und 61
am Regler geht über das Zündschloss (sonst würde die Ladekontrolle brennen, bis die
Batterie leer ist). Von Klemme 51 führt der Bordplus zum Zündschloss. Dort geht es von
15/54 ( Zündung, Bremslicht, Ladekontrolle ) weiter zur Ladekontrolllampe. Die Lampe ist
dann direkt mit Klemme 61 verbunden. |
|
|
2.
Lichtmaschine läuft mit gesteigerter Drehzahl |
Ladestromschalter
|
| Wenn bei gesteigerter Drehzahl die von der
Lichtmaschine erzeugte Spannung für die Stromversorgung ausreicht, ist die Stärke des in
der Spannungsspule erzeugten Magnetfeldes so groß, dass der Ladeschalter schließt (SK1
und SK2 sind verbunden). |
Die blaue Verbindung zwischen
Lichtmaschinenplus und Bordnetz ist geschlossen. Da jetzt ein Strom durch die Stromspule
fließt, wird das Magnetfeld der Spannungsspule verstärkt und der
Ladestromschalter festgehalten. |
| An Klemme 51 und 61 liegt jetzt dieselbe
Spannung an und ist es fließt deshalb kein Strom mehr (die
Ladekontrollleuchte erlischt). |
| Da an Klemme 51 Plusleitung zum
Zündschloss) nun die Lichtmaschinenspannung
anliegt, werden alle Verbraucher von der Lichtmaschine gespeist und die Batterie geladen.
|
|
|
Reglerschalter
|
Im
Erregerstromkreis hat sich nichts verändert. |
Anmerkung: |
Wie jetzt zu erkennen ist, ist das
Metallgerüst des Reglerschalters mit dem Pluspol der Lichtmaschine verbunden.
Es muss daher von der Reglerbefestigung und dem Rahmen des Fahrzeuges isoliert sein
(Masse). |
|
|
3.
Lichtmaschinendrehzahl steigt weiter |

|
Ladestromschalter |
Da die
Lichtmaschinenspannung steigt, bleibt auch das Magnetfeld von Spannungs- und Stromspule
stark und der Ladestromschalter geschlossen. |
|
Reglerschalter |
Die Lichtmaschinenspannung
wird durch die höhere Motordrehzahl zu hoch. Dies führt dazu, dassdas durchdas durch Spannunns-
und Stromspule erzeugte Magnetfeld den beweglichen Kontakt RK2 so anzieht,-
und Stromspule erzeugte Magnetfeld den beweglichen Kontakt RK2 so anzieht,
dass dieser
weder Kontakt zu RK1 noch zu RK3 hat. Die direkte Masseverbindung ist also unterbrochen
und der Erregerstrom fließt stattdessen über den Regler- widerstand (dieser ist zwischen
Erregerwicklung und Masse). |
| Da der Erregerstrom dadurch schwächer
wird, wird die Lichtmaschinenspannung gedrosselt. |
|
|
|
4.
Lichtmaschinendrehzahl ist sehr hoch |
Ladestromschalter |
| Da die Lichtmaschinenspannung hoch ist,
bleibt auch das Magnetfeld von Spannungs- und Stromspule stark und der Ladestromschalter
geschlossen |
|
Reglerschalter |
| Das Magnetfeld von Spannungs- und
Stromspule ist durch die hohe Lichtmaschinenspannung so stark, dass der bewegliche Kontakt
RK2 mit RK3 verbunden ist. Da RK3 mit D+ verbunden ist, wird die Erregerwicklung
kurzgeschlossen (im Bild rot gestrichelt dargestellt). Die Lichtmaschine liefert dann
theoretisch keine Spannung mehr.
|
|
|
|
|
5.
Lichtmaschinendrehzahl sinkt stark ab |
(Die
Lichtmaschinenspannung niedriger als Batteriespannung) |

|
Ladestromschalter |
Da die
Lichtmaschinenspannung unter der Batteriespannung liegt, fließt jetzt Rückstrom (über
den Ladeschalter) von der Batterie über die Lichtmaschine (blaue Pfeile). |
| Da sich dadurch das Magnetfeld in der
Stromspule umkehrt und damit das ohnehin schwache Magnetfeld der Spannungsspule
abschwächt, wird der Ladeschalter jeden Moment öffnen. |
|
Reglerschalter |
Das Magnetfeld von
Spannungs- und Stromspule ist durch die niedrige Lichtmaschinenspannung schwach und die
Erregerwicklung erhält wieder die volle Bord-Spannung.
|
|
Anmerkung:
|
| Die Ladekontrolle leuchtet erst, wenn der
Ladestromschalter geöffnet ist, da die Lampe einen Widerstand darstellt. |
|
|
| Aus den fünf beschriebenen Regelvorgängen
sollen die zwei wesentlichen Merkmale hervorgehoben werden: |
|
| 1.Die Spannungsregelung der Lichtmaschinen
erfolgt durch Reglung des Erregerstromes. Damit wird eine annähernd
konstante Spannung induziert. |
|
| 2.Die Reglung erfolgt bei der
beschriebenen Bauart in zwei Stufen: |
|
| Der Erregerstrom wird entweder durch einen
eingeschalteten Widerstand
geschwächt oder die Erregerwicklung wird kurzgeschlossen, so
dass keine Spannung induziert wird. |
|
|
| Die Teilung der Reglung gestattet die Reglung
über einen großen Drehzahlbereich sowie einen kleinen Regelwiderstand. Außerdem sind
diese Regler verhältnismäßig unempfindlich gegen Erschütterungen. |
|
|
| Die IKA-Reglerschalter arbeiten nach dem
Prinzip der nachgiebigen Spannungsreglung. Bei der Beschreibung der fünf Schaltstellungen
ist zwecks Vereinfachung dieses Prinzip noch nicht erwähnt worden. |
|
| Wird die Magnetspule des Reglers lediglich
durch die Klemmenspannung der Lichtmaschine beeinflusst, so kann es vorkommen,
dass bei
entladenem Sammler ein unzulässig hoher Ladestrom fließt, wodurch Lichtmaschine und
Sammler geschädigt werden. Dies wird verhindert, indem sich die Lichtmaschinenspannung
der Sammlerspannung nachgiebig" anpasst. Zu diesem Zweck befinden sich
Spannungsspule und Stromspule auf einem gemeinsamen Magnetkern. Dadurch ergänzt die
Stromspule die Wirkung der Spannungsspule in der Weise, dass sie bei Entnahme eines
starken Stromes das Magnetfeld verstärkt, wodurch der Regler genauso anspricht, als wenn
die Spannung zu hoch angestiegen wäre. Die Folge ist, dass die Spannung sinkt. Fließt
hingegen nur ein schwacher Strom, dann beeinflusst dieser das Magnetfeld kaum, und der
Regler regelt auf höhere Spannung. Weil die Spannung bei Belastung nachgibt, spricht man
von nachgiebiger Reglung". |
|
| Erläuterung: |
| Die Spannung der Lichtmaschine schwankt in
engen Grenzen, und zwar unabhängig von der Drehzahl, jedoch abhängig von der
Stromaufnahme des Sammlers und der Verbraucher. |
|
| Die Stromstärke passt sich der Stromaufnahme
der Verbraucher bis zu einem für den entladenen Sammler unschädlichen Höchstwert an. |
|
|
Zusammenfassung
der Aufgaben des Regelschalters: |
| 1.Die Lichtmaschinenspannung soll bei allen
Drehzahlen fast gleichbleibend sein. Bei zu kleiner Spannung leuchten die Lampen zu
schwach, bei zu hoher Spannung brennen sie durch. |
| 2.Bei stehendem oder langsam laufendem Motor
muss die Lichtmaschine vom Sammler getrennt werden, da sich bei kleiner
Lichtmaschinenspannung die Batterie über die Lichtmaschine entladen würde. |
| 3.Der Sammler soll stets
gut und schonend geladen werden. Eine leere Batterie ist mit
hoher Stromstärke, eine volle jedoch mit kleinem Ladestrom aufzuladen. |
| 4. Auch mit ausgefallenem Sammler sollte
der Fahrbetrieb notfalls noch möglich sein. |
|
|
| Tipps zum 6 Volt Regler |
|
| Probleme bei dem mechanischen Regler
können erkennbar sein durch |
|
> Schlechtes Startverhalten,
Zündaussetzer, schwaches Licht und defekter Batterie < |
Ursachen können sein |
| - Schaltkontakte verschmort durch zu hohen
Dauerverbrauch (zu viel Verbraucher angeschlossen) |
| - der Kontakt D+ kann an der Lima oder am
Regler defekt sein (Kabelverbindungen) |
| - falsch angeschlossene Batterie (Pole vertauscht) |
| - zu hoher Leerlauf, schaltfaul, der Motor
wird zu hoch gedreht |
| - Reglerwiderstand defekt (Masseschluss) |
| - Feldwicklungsschluss (Masseschluss) |
| - unsachgemäßes Aufsetzen der Alu-Schutzkappe
(Kontakte verbogen oder Masseschluss) |
|
|
Tipp Nr. 1 |
Prüfen der
mechanischen Einstellung des Regelschalters |

|
Kontaktabstand
in mm |
| SK1-Schalterkontakte |
0,4 |
| SK2-Regelkontakte |
0,3...0,4 |
| SU1-Schalteranker |
0,5 |
| SU2-Regelanker |
0,5 |
| SA1-Schalteranker |
0,8...1,0 |
| SA2-Regelanker |
0,9...1,1 |
|
|
|
Tipp Nr.
2 |
Prüfen der
Spannung |
| Hinweis: |
| Ein Einstellen des Reglers bedarf mehrerer
Kenntnisse. Aus diesem Grund wird in vielen Handbüchern z.B. von MZ eindringlich auf
Fachwerkstätten hingewiesen. Auch heute noch gibt es für diese Arbeit Fachleute unter
den Oldtimer-Schraubern und alt eingesessenen
Kfz-Werkstätten. Wenn der Regler
nicht richtig schaltet, macht das Fahren keinen Spaß. |
| Beachte: Die Kontakte niemals mit einer
Feile bearbeiten, denn es sind extra gehärtet Oberflächen |
| Eingestellt wird ein Regler an einer einwandfreien
und typengerechten Lichtmaschine. Am besten auf einem Prüfstand auf dem eine Drehzahl von
0 bis ca. 6000 U/min kontinuierlich regelbar ist. |
| Die mechanische Grundeinstellung ist unter Tipp
1 ersichtlich. |
| Daraus sollten folgende Spannungen resultieren und
sind gegebenenfalls durch Nachregulieren zu erreichen: |
| - Einschaltspannung :
6,5 - 6,9 Volt |
( Lima unbelastet > keine
Verbraucher, Batterie abgeklemmt) |
| -Ausschaltspannung :
5,4 - 6,2 Volt |
| - Spannung bei Nennbelastung : 6,2 - 6,8
Volt |
( Motordrehzahl 18000- 2200 U/min
Belastung 10 A/ Abblend- Schluss- Stopplicht an, Batterie angeschlossen) |
| -Nennbelastung:
6,8 - 7,2 Volt bei 4000 U/min wenn mit Licht gefahren wird |
|
Wer sich dennoch am Regler
versuchen möchte |
| Dies wird am besten mit einem Spanungsmessgerät
für den Messbereich 0...8 Volt mit einer Skaleneinteilung von max. 0,2 Volt gemessen
Die 6 Volt Lichtmaschine der IWL- Roller und MZ Motorräder erzeugt im Leerlauf 6,4
bis 6,8 Volt. Damit die Lichtmaschine nicht schon im Leerlauf abriegelt, soll die
Abregelspannung mindestens 0,2 Volt darüber liegen. Dies bedeutet bei einer
Leerlaufspannung von 6,5 Volt muss der Regler bei 6,7 - 6,9 Volt
ab regeln. Zum
Überprüfen auf dem Vielfachmessinstrument "Volt" einstellen, Motor an und die
Drehzahl leicht erhöht. Geht die Spannung über 6,9 Volt, muss die Vorspannung des
Kontakts korrigiert werden. Dazu die Blechlasche, die gegen das Federstahlblech drückt
ein wenig nach oben bzw. innen nachbiegen. Bei mehr als 6,9 Volt wird die Batterie
überladen und kann überkochen. Wenn die Spannung unter 6,7 Volt bei hoher Drehzahl
bleibt, ist die Vorspannung des Kontakts zu gering und muss stärker eingestellt werden.
Die Blechlasche, die gegen das Federstahlblech drückt ein wenig nach unten
bzw. außen
nachbiegen. Die Abriegelspannung liegt hier bei 6,7 bis 6,9 Volt. Diese Arbeit bedarf
vieler Geduld und wenn alles nichts wird, könnte auch noch ein Fehler an der Lima sein.
z.B. Schleifkohlen abgelaufen (nicht weniger als 9 mm Länge), Druckfeder an den
Schleifkohlen lose, Kohlebürsten hängen, Lichtmaschinenleistung durch Verschmutzung des
Kollektors oder Kurzschluss in der Erregerwicklung herabgemindert, .Kabel defekt,
Widerstand auf der Lima durchgebrannt o.ä. |
|
|
Tipp Nr. 3 |
Umrüsten auf einen
Elektronikregler |
|
| Vorteil: Er sorgt für eine gleichmäßige
Batterieladung, was sich auf die Alltagstauglichkeit der ganzen elektrischen Anlage
auswirkt. |
|
Hier zwei der vielen
Elektronikregler, die es auf den Markt gibt. |
|

|

|
| > Oldtimerteile-Hasse.de < |
> Powerdynamo.de
// VAPE. eu< |
|
Beachte: |
Bei den Elektronikregler ist es
wichtig, den Vorwiderstand zu entfernen |
|
|
|
|
| Quellen: Buch
Fachkunde für Kraftfahrzeugschlosser von 1961, MZ-Schrauber Bücher, |